க்யு ஆர் குறியீடு
எங்களைப் பற்றி
தயாரிப்புகள்
எங்களை தொடர்பு கொள்ள

தொலைபேசி

தொலைநகல்
+86-574-87168065

மின்னஞ்சல்

முகவரி
Luotuo தொழில்துறை பகுதி, Zhenhai மாவட்டம், Ningbo நகரம், சீனா
நீங்கள் கனரக இயந்திரங்களை இயக்குகிறீர்கள் என்றால், உலோகம் முழுவதையும் வெளியேற்றும் எஃகு உருட்டல் ஆலைகள், டன் எடையுள்ள பொருட்களை தூக்கும் கிரேன்கள் அல்லது நிலத்தடியில் தூசி மற்றும் அழுத்தத்தை எதிர்த்துப் போராடும் சுரங்க கியர் போன்றவை - உங்களைத் தாழ்த்தாத ஒரு இணைப்பு உங்களுக்குத் தேவை. Raydafon இன் SWC-BH ஸ்டாண்டர்ட் ஃப்ளெக்ஸ் வெல்டிங் வகை யுனிவர்சல் கப்ளிங் இதற்காகவே உருவாக்கப்பட்டுள்ளது: நம்பகமான முறுக்கு பரிமாற்றம், வேலை கடினமானதாக இருந்தாலும் கூட.
முதலில், அதன் வடிவமைப்பைப் பற்றி பேசலாம். பற்றவைக்கப்பட்ட நுகம் ஒரு அம்சம் மட்டுமல்ல - இது ஒரு விளையாட்டை மாற்றும். காலப்போக்கில் தளர்வடையக்கூடிய போல்ட் செய்யப்பட்ட நுகங்களைப் போலல்லாமல், இது பற்றவைக்கப்பட்ட திடமானது, எனவே உங்கள் இயந்திரங்கள் கடினமாக உழைக்கும் போது பாகங்கள் தளர்வாகும் அபாயம் இல்லை. 180 மிமீ முதல் 620 மிமீ வரையிலான ஜிரேஷன் விட்டம் கொண்ட அமைப்புகளின் வரம்பிற்கு இது பொருந்துகிறது - ஒரு அளவு-பொருத்தம்-எதுவும் இல்லை விருப்பத்தை தேட வேண்டிய அவசியமில்லை. ஒரு நிலையான ஃப்ளெக்ஸ் யுனிவர்சல் இணைப்பாக, இது 15 டிகிரி கோண தவறான சீரமைப்பைக் கையாளுகிறது, அதாவது உங்கள் தண்டுகள் சரியாக வரிசையாக இல்லாவிட்டால் (உண்மையாக இருக்கட்டும், அவை அரிதாகவே இருக்கும்), அது இன்னும் சக்தியை நகர்த்துகிறது. முறுக்குவிசை 1250 kN·m-ஐத் தாக்கும் போது கூட—தீவிர சக்தி—அது நிலையாக இருக்கும், எந்த தடுமாறலும் இல்லை, துளிகளும் இல்லை.
நாங்கள் பொருட்களையும் குறைக்கவில்லை. இது 35CrMo எஃகு மூலம் தயாரிக்கப்படுகிறது - இது ஒரு சுரங்கத்தில் மோதிக்கொண்டாலும் அல்லது உருட்டல் ஆலைக்கு அருகில் சூடாக்கப்பட்டாலும் கூட, தேய்மானத்தை எதிர்க்கும் அதிக வலிமை கொண்ட பொருள். கூடுதலாக, நாங்கள் துல்லியமான ஊசி தாங்கு உருளைகளை வைக்கிறோம், எனவே அது மென்மையாக நகர்கிறது, உராய்வைக் குறைக்கிறது மற்றும் மலிவான இணைப்புகளை விட நீண்ட காலம் நீடிக்கும். அதனால்தான் கனரக இயந்திரங்களுக்கான உலகளாவிய இணைப்புகளுக்கு இது ஒரு பயணமாகும் - இது ஒரு சில வாரங்களுக்கு மட்டும் வேலை செய்யாது; அது சுற்றி ஒட்டிக்கொண்டிருக்கும், உங்கள் உபகரணங்கள் இயங்கும். தொழில்துறை பயன்பாடுகளுக்கு உங்களுக்கு வெல்டட் உலகளாவிய இணைப்புகள் தேவைப்பட்டால்? இது தான்- பற்றவைக்கப்பட்ட வடிவமைப்பு, போல்ட் செய்யப்பட்ட மாற்றுகளை விட அதிர்வு மற்றும் அழுத்தத்தை சிறப்பாக கையாளுகிறது, எனவே நீங்கள் குறைந்த நேரத்தை சரிசெய்து அதிக நேரத்தை செலவிடுகிறீர்கள்.
Raydafon இல், நாங்கள் சீனாவில் இவற்றைத் தயாரிக்கிறோம், ஆனால் தரத்தில் எந்தக் குறையும் இல்லை. ஒவ்வொரு படியும் ISO 9001 தரநிலைகளைப் பின்பற்றுகிறது - நாங்கள் எஃகு சரிபார்க்கிறோம், நாங்கள் வெல்ட்களை ஆய்வு செய்கிறோம், தாங்கு உருளைகளை சோதிக்கிறோம் - எனவே உலகளாவிய தர விதிகளை பூர்த்தி செய்யும் ஒரு இணைப்பை நீங்கள் பெறுகிறீர்கள் என்பது உங்களுக்குத் தெரியும். உங்கள் அமைப்பு சற்று வித்தியாசமாக இருந்தால்? நாங்கள் தனிப்பயன் மாற்றங்களைச் செய்கிறோம்—அளவைச் சரிசெய்வோம், விவரக்குறிப்புகளைச் சரிசெய்வோம்—அதை நீங்கள் பொருத்துவதற்கு என்ன செய்ய வேண்டும். சிறந்த பகுதி? இது ஒரு ஆடம்பர பாகம் போல் விலை நிர்ணயம் செய்யப்படவில்லை. நீங்கள் ஒரு அதிர்ஷ்டம் செலுத்தாமல், கடினமாக உழைக்கும் நீடித்த உலகளாவிய இணைப்பைப் பெறுவீர்கள். வேலையில்லா நேரத்தை வாங்க முடியாத எவருக்கும், இந்த SWC-BH இணைப்பு என்பது உங்கள் இயந்திரங்களை நாள் தோறும் நகர்த்த வைக்கும் நம்பகமான பகுதியாகும்.
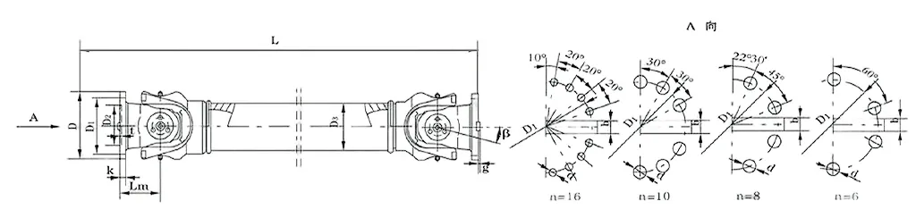
| இல்லை | கைரேஷன் விட்டம் டி மிமீ | பெயரளவு முறுக்கு Tn KN·m | அச்சுகள் மடிப்பு கோணம் β (°) | சோர்வான முறுக்கு Tf KN·m | அளவு (மிமீ) | சுழலும் மந்தநிலை கி.மீ2 | எடை (கிலோ) | |||||||||||
| Lmin | D1 (js11) | D2 (H7) | D3 | Lm | n-d | k | t | b (h9) | g | Lmin | அதிகரிக்கவும் 100மிமீ | Lmin | அதிகரிக்கவும் 100மிமீ | |||||
| SWC100WH | 100 | 1.25 | 0.63 | 25° | 243 | 84 | 57 | 60 | 55 | 6-9 | 7 | 2.5 | - | - | 0.0039 | 0.00019 | 4.5 | 0.35 |
| SWC120WH | 120 | 2.5 | 1.25 | 25° | 307 | 102 | 75 | 70 | 65 | 8-11 | 8 | 2.5 | - | - | 0.0096 | 0.00044 | 7.7 | 0.55 |
| SWC150WH | 150 | 5 | 25 | 25° | 350 | 130 | 90 | 89 | 80 | 8-13 | 10 | 3 | - | - | 0.371 | 0.00157 | 18 | 24.5 |
| SWC180WH | 180 | 12.5 | 6.3 | 25° | 180 | 155 | 105 | 114 | 110 | 8-17 | 17 | 5 | - | - | 0.15 | 0.007 | 48 | 2.8 |
| SWC225WH | 225 | 40 | 20 | 15° | 520 | 196 | 135 | 152 | 120 | 8-17 | 20 | 5 | 32 | 9 | 0.365 | 0.0234 | 78 | 4.9 |
| SWC250WH | 250 | 63 | 31.5 | 15° | 620 | 218 | 150 | 168 | 140 | 8-19 | 25 | 6 | 40 | 12.5 | 0.817 | 0.0277 | 124 | 5.3 |
| SWC285WH | 285 | 90 | 45 | 15° | 720 | 245 | 170 | 194 | 160 | 8-21 | 27 | 7 | 40 | 15 | 1.756 | 0.051 | 185 | 6.3 |
| SWC315WH | 315 | 125 | 63 | 15° | 805 | 280 | 185 | 219 | 219 | 10-23 | 32 | 8 | 40 | 15 | 2.893 | 0.0795 | 262 | 8 |
| SWC350WH | 350 | 180 | 90 | 15° | 875 | 310 | 210 | 267 | 194 | 10-23 | 35 | 8 | 50 | 16 | 5.013 | 0.2219 | 374 | 15 |
| SWC390WH | 390 | 250 | 125 | 15° | 955 | 345 | 235 | 267 | 215 | 10-25 | 40 | 8 | 70 | 18 | 8.406 | 0.2219 | 506 | 15 |
| SWC440WH | 440 | 355 | 180 | 15° | 1155 | 390 | 255 | 325 | 260 | 16-28 | 42 | 10 | 80 | 20 | 15.79 | 0.4744 | 790 | 21.7 |
| SWC490WH | 490 | 500 | 250 | 15° | 1205 | 435 | 275 | 325 | 270 | 16-31 | 47 | 12 | 90 | 22.5 | 26.54 | 0.4744 | 1014 | 21.7 |
| SWC550WH | 550 | 710 | 355 | 15° | 1355 | 492 | 320 | 426 | 325 | 16-31 | 50 | 12 | 100 | 22.5 | 48.32 | 1.357 | 1526 | 34 |
உங்கள் வேலையை மெதுவாக்கும் அல்லது உங்களுக்கு மிகவும் தேவைப்படும்போது உடைக்கும் குழப்பமான இணைப்புகளைக் கையாள்வதில் நீங்கள் சோர்வாக இருந்தால், ஃப்ளெக்ஸ் வெல்டிங் வகை யுனிவர்சல் கப்ளிங் இல்லாமல் Raydafon இன் SWC-WH ஒரு கேம்-சேஞ்சர் ஆகும். இது மெக்கானிக்கல் அமைப்புகளில் மென்மையான முறுக்கு பரிமாற்றம் தேவைப்படும் எவருக்கும் சிறந்த தேர்வாக இருக்கும் சலுகைகளால் நிரம்பியுள்ளது - குழப்பமான வெல்டிங் படிகள் இல்லை, உங்கள் பணிப்பாய்வுக்கு சரியாக பொருந்தக்கூடிய திடமான செயல்திறன்.
முதலில், இந்த விஷயத்தை நிறுவுவது நீங்கள் நினைப்பதை விட எளிதானது. கூடுதல் கருவிகளைக் கொண்டு வரும் அல்லது வெல்ட்கள் அமைக்க காத்திருக்கும் வெல்டட் இணைப்புகளைப் போலன்றி, SWC-WH ஒரு போல்ட்-ஆன் வடிவமைப்பைப் பயன்படுத்துகிறது. நீங்கள் ஏற்கனவே உள்ள அமைப்பில் விரைவாக அதை ஸ்லாட் செய்யலாம் மற்றும் பராமரிப்புக்கான நேரம் எப்போது? அதை பிரித்தெடுப்பது ஒரு காற்று, எனவே உங்கள் தொழில்துறை கியர் சும்மா நேரத்தை செலவிடுகிறது. அதனால்தான் இது ஒரு சிறந்த பல்துறை உயர் முறுக்கு உலகளாவிய கூட்டு இணைப்பு - வேலையில்லாத் தலைவலி இல்லை, உள்ளே நுழைந்து, உங்களுக்குத் தேவையானதைச் சரிசெய்து, மீண்டும் வேலைக்குச் செல்லுங்கள்.
ஆயுள் வாரியாக, அதை கடினமாக்கும் வகையில் கட்டப்பட்டுள்ளது. பெரிய சுமைகள் மற்றும் நிலையான அதிர்வுகளை அசையாமல் கையாளும் கனரக பொருட்களை நாங்கள் பயன்படுத்துகிறோம் - பிஸியான தொழில்துறை இடங்களுக்கு, சாதனங்களுக்கு உண்மையில் இடைவெளி கிடைக்காது. வெல்டிங் இல்லாததால், காலப்போக்கில் வெல்ட்கள் தேய்ந்து போகும் போது தோன்றும் பலவீனமான இடங்களைப் பற்றி நீங்கள் கவலைப்பட வேண்டியதில்லை. இது சில மாதங்களுக்கு ஒருமுறை மாற்ற வேண்டிய இணைப்பு அல்ல; இது தொழில்துறை இயந்திரங்களுக்கான நம்பகமான உலகளாவிய கூட்டு இணைப்பாகும், இது உங்கள் செயல்பாடுகளை சீராக வைத்திருக்கும்.
தவறான அமைப்புகளா? பிரச்சனை இல்லை. குறிப்பாக வாகன அல்லது போக்குவரத்து அமைப்புகளில் ஷாஃப்ட்கள் ஒருபோதும் சரியாக வரிசையாக இருக்காது, ஆனால் SWC-WH ஆனது ஒரு சார்பு போன்ற கோண, அச்சு மற்றும் ரேடியல் விலகல்களைக் கையாளுகிறது. இது ஒரு வகையான டிரைவ் ஷாஃப்ட் யுனிவர்சல் ஜாயிண்ட் கப்ளிங் ஆகும், இது சீரமைப்பு வழுவழுப்பானதாக இருந்தாலும் கூட சக்தியை சீராக நகர்த்துகிறது-எந்த இழுப்புகளும் இல்லை, துளிகளும் இல்லை, நிலையான செயல்திறன்.
மற்றும் செலவு பற்றி பேசலாம். வெல்டிங் கூடுதல் உழைப்பு மற்றும் பொருள் கட்டணங்களைச் சேர்க்கிறது, ஆனால் இந்த இணைப்பு அனைத்தையும் தவிர்க்கிறது. அதிக செலவு இல்லாமல் தரமான தயாரிப்பைப் பெறுவீர்கள், இது எந்த பட்ஜெட்டிற்கும் பெரிய வெற்றியாகும். கடல் அமைப்புகள் போன்ற தந்திரமான இடங்களிலும், அரிப்பு ஒரு நிலையான அச்சுறுத்தலாக உள்ளது, இது நம்பகமான கடல் உலகளாவிய கூட்டு இணைப்பாக உள்ளது - உப்புநீருக்கு எதிராக கடினமானது, உங்கள் பணப்பையில் எளிதானது.
நீங்கள் புதுப்பிக்கத்தக்க ஆற்றலில் இருந்தால், இந்த இணைப்பும் சரியாக பொருந்தும். இது புதுப்பிக்கத்தக்க எரிசக்தி உபகரணங்களுக்கான திடமான உலகளாவிய கூட்டு இணைப்பாகும். கூடுதலாக, இது இலகுவானது, எனவே இது உங்கள் கணினியை எடைபோடுவதில்லை-செயல்திறனைத் தியாகம் செய்யாமல் விஷயங்களை நிலையான முறையில் இயங்க வைப்பதற்கு சிறந்தது.
Raydafon இல், நாங்கள் கப்ளிங்குகளை மட்டும் விற்பனை செய்வதில்லை - உங்கள் தேவைகளுக்கு ஏற்றவற்றை நாங்கள் செய்கிறோம். SWC-WH தனிப்பயனாக்கக்கூடியது, எனவே நீங்கள் விரும்பும் விதத்தில் இது சரியாக வேலை செய்கிறது. உங்கள் செயல்பாடுகளை எப்படிச் சீராகச் செய்யலாம் என்று நீங்கள் ஆர்வமாக இருந்தால், எங்கள் குழுவைத் தொடர்பு கொள்ளுங்கள். நாங்கள் உங்களை வழி நடத்துவோம், வாசகங்கள் இல்லை - இந்த இணைப்பு உங்களுக்காக என்ன செய்ய முடியும் என்பதைப் பற்றி நேரடியாகப் பேசுங்கள்.
Raydafon இன் SWC-WH இல்லாமல் ஃப்ளெக்ஸ் வெல்டிங் வகை யுனிவர்சல் கப்ளிங் கார்டன் கூட்டு இயக்கவியலின் அடிப்படை அறிவைக் குறைக்கிறது - ஆனால் தொழில்துறை வேலைகளுக்கு கடினமாகத் தாக்கும் வகையில் நாங்கள் அதை மாற்றியமைத்துள்ளோம். முழு புள்ளி? ஒரு கோணத்தில் இருந்தாலும், சரியாக வரிசையாக இல்லாத இரண்டு தண்டுகளுக்கு இடையில் முறுக்குவிசை சீராக நகரும். ஒரு நோக்கத்திற்காக உருவாக்கப்பட்ட SWC கார்டன் ஷாஃப்ட் யுனிவர்சல் கூட்டு இணைப்பாக, இது சுழற்சி சக்தியை சீராகப் பாய்ச்சுவதற்கு நடுவில் குறுக்கு வடிவத் துண்டைப் பயன்படுத்துகிறது-சரியாக இது ரோலிங் மில்ஸ் அல்லது ஹைஸ்டிங் மெஷினரி போன்ற கடினமான வேலைகளுக்கு அதிக முறுக்கு உலகளாவிய கூட்டு இணைப்பு ஆகும்.
இது எவ்வாறு செயல்படுகிறது என்பதற்கான மையத்தை உடைப்போம்: இரண்டு முட்கரண்டி நுகங்கள் உள்ளன, அவை ஒரு மத்திய குறுக்கு மூலம் இணைக்கப்பட்டுள்ளன (நாங்கள் அதை ஒரு சிலந்தி என்று அழைக்கிறோம்). இந்த அமைப்பு நுகங்களை பல திசைகளில் சுழற்ற அனுமதிக்கிறது - எனவே தண்டுகள் 25° வரை (அதன் அதிகபட்ச அச்சு மடிப்பு கோணம்) ஈடுசெய்யப்பட்டாலும், முறுக்குவிசை சமமாக கடந்து செல்லும். அதைக் காப்புப் பிரதி எடுப்பதற்கான விவரக்குறிப்புகள் உள்ளன: கைரேஷன் விட்டம் φ58 முதல் φ620 வரை இருக்கும், மேலும் இது 0.15 முதல் 1000 kN·m வரையிலான பெயரளவு முறுக்குவிசையைக் கையாளுகிறது. ரோலிங் மில் செயல்பாடுகளுக்கு நீங்கள் அதை ஒரு ஹெவி-டூட்டி யுனிவர்சல் கூட்டு இணைப்பாகப் பயன்படுத்தும்போது, இந்த வடிவமைப்பின் அர்த்தம் உள்ளீடு சுழற்சி தடையின்றி வெளியீட்டு இயக்கமாக மாறுகிறது-அந்த வெளிப்படையான மூட்டுகள் தவறான சீரமைப்புகளை ஈடுசெய்ய, குறுக்கீடுகள் இல்லாமல் தானாக முன்னோக்கிச் செல்கின்றன.
"நெகிழ்வு வெல்டிங் இல்லாமல்" பகுதியை முக்கியமாக்குவது எது? போல்ட் அல்லது இறுக்கமான இணைப்புகளுக்கு வெல்ட்களை மாற்றினோம். வெல்ட்கள் காலப்போக்கில் பலவீனமான இடங்களாக இருக்கலாம், ஆனால் இந்த ஃபாஸ்டென்சர்கள் தோல்வி அபாயங்களைக் குறைக்கின்றன - மேலும் அவை இணைப்பதை எளிதாக்குகின்றன. இந்த தொழில்துறை உலகளாவிய கூட்டு இணைப்பு மேம்படுத்தப்பட்ட ஃபோர்க் ஹெட் வடிவமைப்பையும் கொண்டுள்ளது, இது போல்ட்களை தளர்த்துவதை நிறுத்துகிறது, அதன் கட்டமைப்பு வலிமையை 30%-50% அதிகரிக்கிறது. சுரங்கங்கள் அல்லது கட்டுமான தளங்கள் போன்ற கோரும் இடங்களுக்கு இது ஒரு பெரிய விஷயமாகும், அங்கு இது ஒரு நீடித்த SWC உலகளாவிய கூட்டு தண்டு இணைப்பாக செயல்படுகிறது - அதிக சுமைகளின் கீழ் வெளியே கொடுக்காமல் வைத்திருக்கும்.
செயல்திறன் இங்கே மற்றொரு வெற்றி: இது 98.6% பரிமாற்றத் திறனைத் தாக்கும். உராய்வு மற்றும் ஆற்றல் கழிவுகளைக் குறைக்க ஒவ்வொரு பகுதியையும் நாங்கள் வடிவமைத்துள்ளோம்-எனவே இது அதிக சக்தி வாய்ந்த தொழில்துறை அமைப்புகளில் பெரிய ஆற்றல் பரிமாற்றத்திற்கான திறமையான உலகளாவிய கூட்டு இணைப்பாக இருப்பதில் ஆச்சரியமில்லை. அது அமைதியாக இயங்குகிறது: பொதுவாக 30-40 dB(A). இது சீரான சுழற்சி மற்றும் உள்ளமைக்கப்பட்ட அதிர்வு தணிப்புக்கு நன்றி - இது சத்தம் பிரச்சனை உள்ள இடங்களுக்கு குறைந்த சத்தம் கொண்ட உலகளாவிய கூட்டு இணைப்பாக அமைகிறது. கூடுதலாக, இது ஆற்றல் செலவைக் குறைக்கிறது, எனவே இது ஆற்றல் சேமிப்பு உலகளாவிய கூட்டு இணைப்புத் தேவைகளுக்கான பெட்டியையும் சரிபார்க்கிறது.
கனரக இயந்திரங்கள் உலகளாவிய கூட்டு இணைப்பு அமைப்புகளில், இது மிகவும் முக்கியமானது: SWC-WH அதன் அனைத்து பகுதிகளிலும் சமமாக சக்திகளை பரப்புகிறது. எந்த ஒரு துண்டும் அதிக சிரமத்தை எடுக்காது, அதாவது குறைவான முறிவுகள் மற்றும் நீண்ட ஆயுள். Raydafon இல், இந்த இணைப்பை நாங்கள் விவரக்குறிப்புகளைச் சந்திப்பதற்காக மட்டும் உருவாக்கவில்லை - கரடுமுரடான கனரக இயந்திரங்கள் அல்லது பிரத்யேக தொழில்துறை அமைப்புகளாக இருந்தாலும், உங்கள் பணிக்கு ஏற்ற வகையில் இதை நாங்கள் உருவாக்குகிறோம். உங்கள் சிஸ்டம் சீராக இயங்குவதற்கு அல்லது நீண்ட காலம் நீடிக்க அதை மாற்றியமைக்க விரும்பினால், எங்கள் குழுவிடம் பேசுங்கள்—உங்களுக்குத் தேவையானதை சரியாகப் பொருந்தக்கூடிய அமைப்பைப் பெற நாங்கள் உங்களுக்கு உதவுவோம்.
⭐⭐⭐⭐⭐ Zhang Wei, Mechanical Engineer, Beijing Industrial Machinery Co., Ltd.
ஃப்ளெக்ஸ் வெல்டிங் வகை யுனிவர்சல் கப்ளிங் இல்லாமல் Raydafon இன் SWC-WH சில மாதங்களாக எங்கள் தயாரிப்பு சாதனங்களில் உள்ளது, மேலும் இது ஒரு நிலையான செயல்திறனாக உள்ளது-குறிப்பாக அதிக சுமைகளைக் கையாள எங்கள் இயந்திரங்களைத் தள்ளும்போது. நான் உண்மையில் பாராட்டுவது என்னவென்றால், அதன் வலுவான உருவாக்கம்: அந்த நீண்ட, கோரும் மாற்றங்களில் கூட, மற்ற பகுதிகள் தடுமாறத் தொடங்கும், இந்த இணைப்பானது விஷயங்களை சீராக இயங்க வைக்கிறது - சீரற்ற அதிர்வுகள் இல்லை, திடீர் தோல்விகள் இல்லை.
நிறுவலும் ஒரு தென்றலாக இருந்தது. எங்கள் குழு சிக்கலான படிகளைக் கண்டறிவதில் மணிநேரம் செலவிட வேண்டியதில்லை; நாங்கள் அதை விரைவாக ஏற்றிவிட்டோம், பின்னர் அதை மாற்ற வேண்டியதில்லை. எங்களுடையது போன்ற ஹெவி-டூட்டி கியர்களுக்கு, நம்பகத்தன்மை மற்றும் தரம் ஆகியவை பேச்சுவார்த்தைக்குட்பட்டவை அல்ல, மேலும் இந்த இணைப்பு இரண்டு பெட்டிகளையும் சரிபார்க்கிறது. Raydafon இன் நிரூபணம் அவர்கள் ஒரு கூட்டாளர் என்பதை நாம் இங்கு நம்பலாம் - இந்த தயாரிப்பு எவ்வாறு நிலைத்து நிற்கிறது என்பதில் நாங்கள் உண்மையிலேயே மகிழ்ச்சியடைகிறோம்.
⭐⭐⭐⭐⭐ ஜான் ஸ்மித், ஆலை மேலாளர், புளோரிடா உற்பத்தி, அமெரிக்கா
ரெய்டாஃபோனின் SWC-WH இணைப்பை சில மாதங்களுக்கு முன்பு எங்கள் புளோரிடா வசதியில் பயன்படுத்தினேன், அது எங்களுக்குத் தேவையானது-எளிமையானது, வம்பு இல்லாதது மற்றும் தொடர்ந்து பயனுள்ளதாக இருந்தது. பவர் டிரான்ஸ்மிஷன் நிலையானது, இது எங்கள் உற்பத்தியை வேகத்தில் வைத்திருப்பதற்கு முக்கியமானது, மேலும் பராமரிப்புக்காக அதை ஒருமுறை தொட வேண்டியதில்லை. அது எங்களுக்கு கிடைத்த பெரிய வெற்றி; பகுதிகளை சரிசெய்வதற்கு குறைவான நேரம் வேலை செய்வதற்கு அதிக நேரம் ஆகும்.
நாம் இயந்திரங்களை கடினமாக இயக்கும்போதும், அதிக அழுத்தத்தின் கீழ், இந்த இணைப்பு அசைவதில்லை - அது தொடர்ந்து செல்கிறது. நிறுவலும் நேராக இருந்தது; எங்கள் தொழில்நுட்பங்கள் எந்த நேரத்திலும் அதை அமைத்துவிட்டன. நீங்கள் அந்த செயல்திறனை நியாயமான விலையுடன் இணைக்கும்போது? இது ஒரு உறுதியான மதிப்பு. மேலும், Raydafon இன் வாடிக்கையாளர் ஆதரவு எங்களிடம் ஒரு விரைவான கேள்வியின் போது முதலிடத்தில் இருந்தது - அவர்கள் விரைவாக எங்களிடம் திரும்பினர். அவர்களின் தயாரிப்புகளை நாங்கள் தொடர்ந்து பயன்படுத்துவோம் என்பதில் சந்தேகமில்லை.
⭐⭐⭐⭐⭐ ராபர்டோ சில்வா, செயல்பாட்டு இயக்குனர், சாவோ பாலோ இன்ஜினியரிங் சொல்யூஷன்ஸ், பிரேசில்
நாங்கள் இப்போது சிறிது காலமாக Raydafon உடன் கூட்டு சேர்ந்துள்ளோம், ஆனால் அவர்களின் SWC-WH வித்தவுட் ஃப்ளெக்ஸ் இணைப்பு எங்கள் செயல்பாடுகளில் தனித்து நிற்கிறது - இது மீண்டும் மீண்டும் நிரூபிக்கப்பட்டுள்ளது. நீங்கள் கவனிக்கும் முதல் விஷயம் அதன் திடமான கட்டுமானம்; இது நீடிக்கும் வகையில் கட்டமைக்கப்பட்டதாக உணர்கிறது, மேலும் இது எங்கள் இயந்திரங்களில் நம்பகமான செயல்திறனை மொழிபெயர்க்கிறது.
நாங்கள் இந்த இணைப்பிற்கு மாறுவதற்கு முன்பு, தவறான சீரமைப்புச் சிக்கல்கள் மற்றும் எங்களின் பழைய பாகங்கள் முன்கூட்டியே தேய்ந்து போனதால் அடிக்கடி வேலையில்லா நேரத்தைக் கையாண்டோம். இப்போது? அந்தப் பிரச்சனைகள் தீர்ந்துவிட்டன. இது எங்கள் வேலையில்லா நேரத்தை குறைக்கிறது, இது உற்பத்தித்திறனுக்கு பெரும் ஊக்கமாக உள்ளது. மற்றும் நிறுவல்? மிகவும் எளிதானது - எங்கள் குழு பிழைகாணல் அமைப்பை நேரத்தை வீணாக்கவில்லை. பவர் டிரான்ஸ்மிஷன் பாகங்கள் தேவைப்படும் எந்தவொரு நிறுவனத்திற்கும் அவர்கள் நம்பலாம், இது ஒரு மூளையில்லாதது. நான் அதை முற்றிலும் பரிந்துரைக்கிறேன்.
⭐⭐⭐⭐⭐ பீட்டர் முல்லர், தொழில்நுட்ப மேற்பார்வையாளர், ஸ்டட்கார்ட் உற்பத்தி GmbH, ஜெர்மனி
நாங்கள் ஆறு மாதங்களுக்கும் மேலாக எங்கள் ஸ்டட்கார்ட் தயாரிப்பு வசதியில் Raydafon இன் SWC-WH இணைப்பைப் பயன்படுத்துகிறோம், மேலும் அது குறைபாடற்றது-தீவிரமாக, முழு நேரமும் ஒரு பிரச்சினை கூட இல்லை. அதன் வடிவமைப்பு நேரடியானது, இது நிறுவலை ஒரு சிஞ்ச் செய்கிறது; எங்கள் குழு அதை பொருத்தி, எந்த நேரத்திலும் செல்ல தயாராக இருந்தது, சிக்கலான படிகள் அல்லது சிறப்பு கருவிகள் தேவையில்லை.
இருப்பினும், என்னை மிகவும் கவர்ந்தது தரம். வெல்டிங் சுத்தமாகவும் வலுவாகவும் உள்ளது, மேலும் பொருட்கள் உயர் தரமாக உணர்கின்றன - அவை மூலைகளை வெட்டவில்லை என்று நீங்கள் சொல்லலாம். இது வழக்கமான பயன்பாட்டின் கீழ் சரியாகப் பராமரிக்கப்படுகிறது, பல மாதங்கள் தொடர்ச்சியான செயல்பாட்டிற்குப் பிறகும் அணிந்திருப்பதற்கான பூஜ்ஜிய அறிகுறிகளைக் காட்டுகிறது. இந்தத் தயாரிப்பு எவ்வாறு செயல்படுகிறது என்பதில் நாங்கள் மிகவும் மகிழ்ச்சியடைகிறோம், மேலும் இது எதிர்காலத் திட்டங்களுக்குப் பயன்படுத்துவதற்கான எங்கள் பட்டியலில் ஏற்கனவே உள்ளது.
முகவரி
Luotuo தொழில்துறை பகுதி, Zhenhai மாவட்டம், Ningbo நகரம், சீனா
டெல்
மின்னஞ்சல்


+86-574-87168065


Luotuo தொழில்துறை பகுதி, Zhenhai மாவட்டம், Ningbo நகரம், சீனா
பதிப்புரிமை © Raydafon Technology Group Co., Limited அனைத்து உரிமைகளும் பாதுகாக்கப்பட்டவை.
Links | Sitemap | RSS | XML | தனியுரிமைக் கொள்கை |
